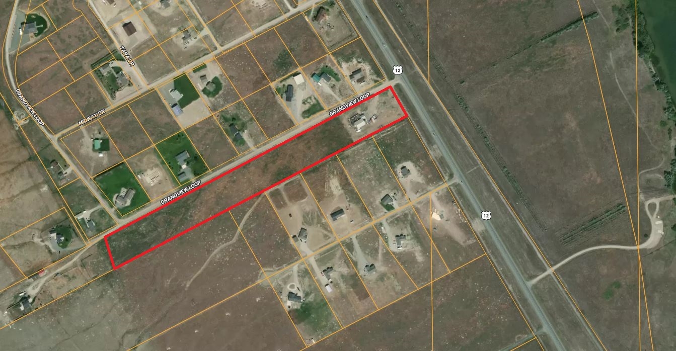
Here is your chance a great investment property with No covenants or zoning! Just North of Townsend with great views of Canyon Ferry lake across the Highway and the Mountains on both sides. The property currently has a commercial shop fronting US Highway 12 which has a daily traffic count of over 6500 vehicles per day. Possibilities for this property are endless with various uses including but not limited to subdividing into residential or commercial lots, family transfers, commercial property with 10 acres or converting the existing shop into a shop house or barndominium. All of this is less than 10 minutes to Townsend and less than 30 minutes to Helena.
Listing Details
- UseCommercial
- Lot Size10.0000
- ZoningNo Zoning or Covenants













































